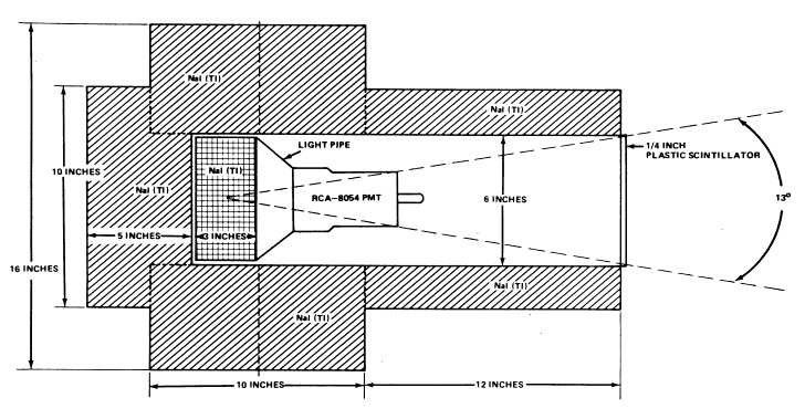
The payload was a larger version of the gamma ray detector previously flown on balloons by the Rice Group. The NaI(Tl) central crystal of the detector was 15 cm in diameter (182 cm2 sensitive area) and 5 cm thick. It covers the 56 keV-12.110 MeV energy interval with two 256-channel pulse height analyzers. The gains of the two analyzers are different. One analyzer spans the 56 keV-1.00 MeV interval. The other covers the 1.00-12.110 MeV interval. The field of view of the central crystal is restricted by the active collimator to 13 degrees full width at half-maximum (FWHM). The sodium iodide collimator is a minimum of 2.0 mean free paths thickness for gamma-ray interaction. Complete protection against data contamination by charged particles is provided by the active collimator and by the thin sheet of plastic scintillator that covers the aperture. The photomultipliers viewing the active collimator and the plastic scintillator are connected in anticoincidence with the photomultiplier viewing the central crystal.
Balloon launched on: 10/3/1977 at 19:09 cdt
Launch site: Columbia Scientific Balloon Facility, Palestine, Texas, US
Balloon launched by: National Scientific Balloon Facility (NSBF)
Balloon manufacturer/size/composition: Zero Pressure Balloon Winzen 437.341 m3 (12.70 Microns - Stratofilm)
Flight identification number: 1039P
End of flight (L for landing time, W for last contact, otherwise termination time): 10/4/1977 at 19:00 cdt
Balloon flight duration (F: time at float only, otherwise total flight time in d:days / h:hours or m:minutes - ): F 24 h
Payload weight: 1224 kgs.
If you consider this website interesting or useful, you can help me to keep it up and running with a small donation to cover the operational costs. Just the equivalent of the price of a cup of coffee helps a lot.