Purpose of the flight and payload description

HASI which stands for Huygens Atmospheric Structure Instrument was a multisensor package designed to measure the physical quantities characterizing Titan's atmosphere onboard the HUYGENS lander. The probe was part of the NASA/ESA/ASI mission CASSINI devoted to study Saturn and his moons that was designed to enter and brake in Titan's atmosphere and parachute a fully instrumented robotic laboratory down to it's surface. The mission, launched in October of 1997, reached Saturn's orbit on July 2004. Orbital entry of Huygens occured on January 15, 2005. The probe studied the clouds, atmosphere, and surface of Titan in its descent.

Between 1995 and 2004, as part of the research program in preparation for the mission, different agencies participating of the program performed a series of balloon-borne missions using different mockups of the probe, and specially built gondolas for testing different sub-systems and sensors. Also several stratospheric drop tests were made to simulate orbital entry into Titan's atmosphere.

The Comas Solá balloon campaign was conducted, in order to test the HASI hardware and software in the terrestrial atmosphere, to investigate the influence of the HUYGENS probe on the electrical measurements in a real environment, and to obtain experience of the data acquisition and handling. The gondola named Comas Solá after the Spanish astronomer who discovered the atmosphere of Titan in 1908 consisted of a 1:1 mock-up of the HUYGENS probe carriying the HASI instrument.

The payload was suspended from the balloon by a cable with a minimum distance between balloon and gondola of 110 m. The craft had a diameter of 1.5 m and a height of 0.8 m, including the damping system, with a total weight of 137 kg. The instruments controlling the flight, GPS, temperature sensor and radar, were located in a box between the balloon and the gondola.

The electronic boxes and sensors were mounted to conserve the equilibrium of Comas Solá, with the Accelerometer at the centre of gravity. The temperature sensors, the pressure probe, two PWA (Permittivity, Wave and Altimetry) booms and two RADAR sensors, were located outside the gondola, in the same positions as that for HUYGENS. The platform was covered by a thermal insulating medium to preserve the electronic against the extreme temperature conditions of the Earth's stratosphere.

Details of the balloon flight

Balloon launched on: 12/1/1995 at 10:26
Launch site: Virgen del Camino Airport, León, Spain  
Balloon launched by: Centre National d'Etudes Spatiales (CNES)
Balloon manufacturer/size/composition: Zero Pressure Balloon model 35SF 35.000 m3
Balloon serial number: 35 SF Nº 67
End of flight (L for landing time, W for last contact, otherwise termination time): 12/1/1995 at 13:15
Balloon flight duration (F: time at float only, otherwise total flight time in d:days / h:hours or m:minutes - ): 2 h 50 m
Landing site: In Navarra (Spain) at coordinates 42º27’11"N, 1º28’47"W
Campaign: COMAS SOLA  
Payload weight: 545 kgs
Gondola weight: 144 kgs

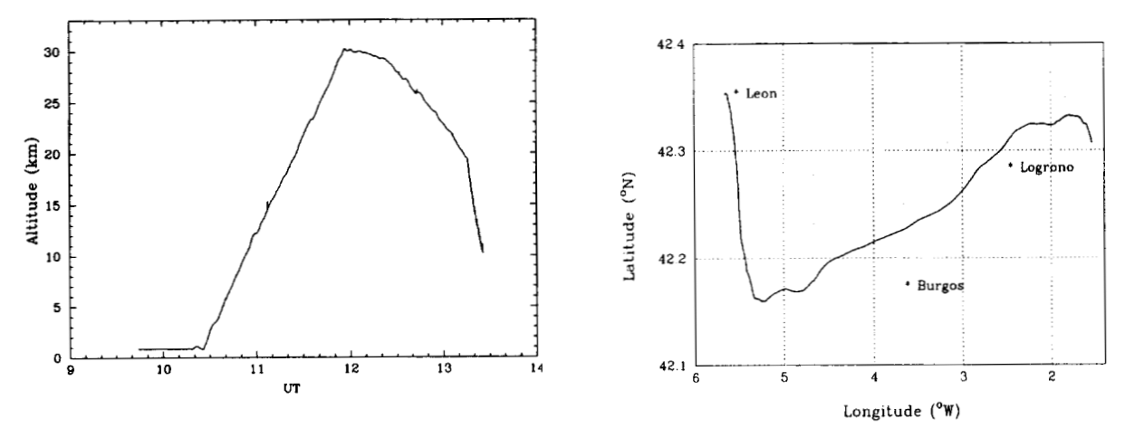
The balloon was launched by dynamic method with help of an auxiliar balloon, at 10:25 on December 12, 1995. Turning eastwards it ascended at 6 meters per second up to reach the float altitude of 30.174 m, at 11:57. From there, it slowly descended to 19.525 m, until 13:16, when the balloon was cut-down and the payload descended by parachute. After a flight of 340 km, the touch down place was in Navarra at coordinates 42º27'11"N, 1º28'47"W, around 4 hours after launch.

The Huygens mission at Titan was simulated by a drop test; the probe was separated from the balloon in order to descent to ground dragged by a parachute. Measurements were performed both in the ascending and descending phases. The results obtained during this balloon flight not only validated the HASI performance but they also provided a reference for direct comparison with the measurements performed with the same instrument in the atmosphere of Titan.

External references

Images of the mission

Mock Up of the HUYGENS vehicle. Launch of the HUYGENS mock up with an auxiliary balloon holding the payload. Another launch phase

If you consider this website interesting or useful, you can help me to keep it up and running with a small donation to cover the operational costs. Just the equivalent of the price of a cup of coffee helps a lot.



1460