Purpose of the flight and payload description

HACME was a balloon-borne experiment designed to measure subdegree-scale cosmic microwave background anisotropy over hundreds of square degrees, using a unique two-dimensional scanning strategy: a spinning flat mirror that is canted relative to its spin axis modulates the direction of beam response in a nearly elliptical path on the sky. The HACME experiment was meant to be the precursor to several spin-modulated experiments that would accurately measure the angular power spectrum using cryogenic HEMT (High Electron Mobility Transistor) amplifier receivers flown on balloon platforms to minimize atmospheric contamination and to enable large-angle chopping.

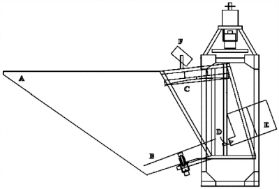
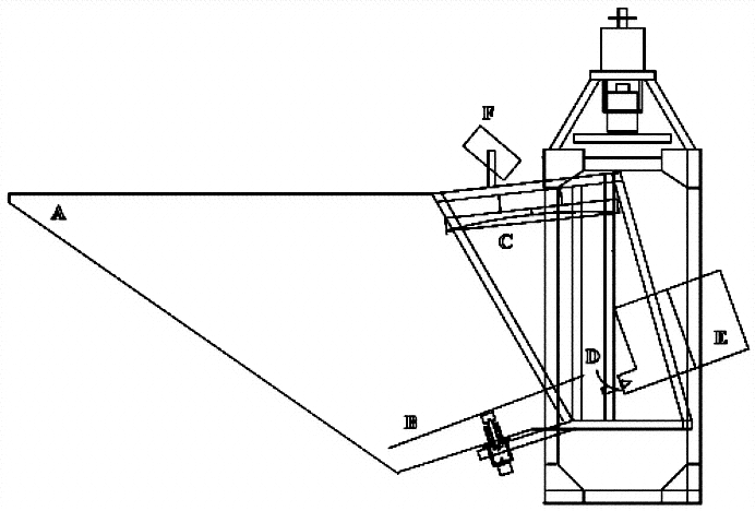
At left we can see a schematic drawing of the major optical elements of HACME. It was composed by a fixed ellipsoidal mirror (D in the drawing), a 1 meter parabolic primary mirror (C); a new 1.2 m spinning flat mirror (B), and a baffle (A) surrounding the flat mirror between 2º and 5º from the optical axes to intercept direct spillover paths of signals from the Earth to the edge of the primary mirror. The spinning flat mirror, canted 2º relative to its spin axis, modulates the telescope beam in a nearly elliptical path on the sky. The primary mirror was the original one used in the ACME instrument which was flown on balloons by the same scientific group six times between 1988 and 1994 and also performed several runs of observations from the south pole.

The HACME Q-band receiver is the same used in an earlier experiment (SP94) with a five-stage InP-GaAs HEMT multiplexed into three 2.3 GHz bandwidth subbands centered at 39.15, 41.45, and 43.75 GHz, but used as a total-power radiometer for this instrument. The output diodes for each subband connect to a low-noise preamplifier, an A/C coupling stage, and a linear voltage to frequency (V/F) converter. The output of the V/F is counted synchronously with the spin of the flat mirror.

Pointing and receiver data are stored on board the payload, and a compressed form of the data is sent to the ground. Analysis is performed on the data recovered from the hard disk after landing.

Eventually, the experience gained with HACME was transferred to its sucesor, an instrument called BEAST (Background Emission Anisotropy Scanning Telescope) flown in 2000 and COFE (Cosmic Foreground Explorer) flown in 2011.

Details of the balloon flight

Balloon launched on: 2/2/1996
Launch site: Scientific Flight Balloon Facility, Fort Sumner, (NM), US  
Balloon launched by: National Scientific Balloon Facility (NSBF)
Balloon manufacturer/size/composition: Zero Pressure Balloon Raven 2.83
Flight identification number: ABT#14
End of flight (L for landing time, W for last contact, otherwise termination time): 2/2/1996
Landing site: Aborted flight
Payload weight: 2500 lbs

The terminate system was fired upon spool release due to a electrostatic discharge. The payload was not released from the launch vehicle and the flight was aborted.
It was succesfully re-launched as flight 414N on February 11.

External references

If you consider this website interesting or useful, you can help me to keep it up and running with a small donation to cover the operational costs. Just the equivalent of the price of a cup of coffee helps a lot.



632