MACSIMS was the acronym for Measurement of Atmospheric Constituents by Simultaneous Ion Mass Spectrometry. It was an instrument developed in early 90's aimed to obtain simultaneous in-situ measurements of several stratospheric trace gases by means of chemical ionisation mass spectrometry. That method was based upon selective ion-molecule reactions taking place in a flow reactor which was coupled to a magnetic Mattauch-Herzog mass spectrometer. It required the development of the appropriate reaction schemes and ion sources. Laboratoty measurements with a similar apparatus led to a new reaction scheme for the determination of stratospheric HNO3 concentrations, based upon the reactions of polychloride ions with HNO3. MACSIMS was the result of a collaboration between the Physikalisches Institut of the Universität Bern, from Switzerland, the Laboratoire de Physique et Chimie de l'Environnement (LPCE) of the University of Orléans, from France, and the Institut d'Aéronomie Spatiale de Belgique (BIRA-IASB).
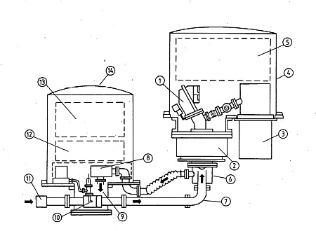
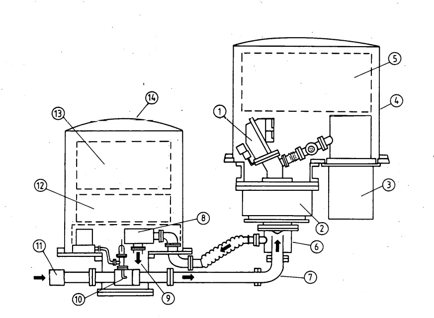
The figure left above shows a schematic representation of the balloon-borne instrument in flight configuration (click to enlarge). The instrument consisted of three main components: the mass spectrometer part (SIDAMS - Simultaneous Ion Detection Atmospheric Mass Spectrometer), the active chemical ionization package (ACIP - Active Chemical Ionization Package) and the flow tube.
Chronologically, the mass spectrometer part was developed first within the framework of the SIDAMS project for the simultaneous detection of natural stratospheric ions. The SIDAMS mass spectrometer (1) was built into a cryopump (2) that was suspended from a large cylindrical base flange. A second cryopump (3) was attached to the same base flange for differential pumping of the mass spectrometer. The mass spectrometer section also included the various power supplies and the electronics for operating the mass spectrometer. These were housed in a compartment (5) above the mass spectrometer. To avoid electrical breakdowns, the electronics were kept at 1 atmosphere by a hermetically sealed aluminum container (4) mounted on the base flange.
In order to be able to use the SIDAMS instrument for active chemical ionization applications, the chemical ionization package (ACIP) was developed. This consisted mainly of the ion source block (10) and the associated equipment for controlling gas flows through the source (flow meters, pneumatic valves, etc), the gas cylinders (12) (ion mother gas, purge gas, compressed air for operating the pneumatic valves), the turbine (8), and the electronics (13) for operating the various components of the ACIP package. As with the mass spectrometer section, the ACIP section was also housed in a hermetically sealed aluminium container (14) mounted on a large base flange. The base flanges were built into a support structure which was itself surrounded by a shock absorbing structure to minimise damage at landing.
The ACIP and mass spectrometer sections were connected by the flow tube (7) which, at the mass spectrometer, ended in a transition piece (6) through which the stratospheric air flow (drawn upstream of the ion source block) was led back outside via the turbine (8) (9). Due to the limited pumping speed of the cryopumps, it was necessary to maintain the vacuum in the flow tube until the outside pressure was below 100 mbar. For this reason, the flow tube was equipped with shut-off systems which were opened just before the end of the balloon's ascent phase (11).
Balloon launched on: 10/16/1998 at 16:39 UTC
Launch site: Centre de Lancement de Ballons CLBA, Aire Sur L'Adour, Landes, France
Balloon launched by: Centre National d'Etudes Spatiales (CNES)
Balloon manufacturer/size/composition: Zero Pressure Balloon model 100z Zodiac - 100.000 m3
Balloon serial number: 100Z Nº 87
End of flight (L for landing time, W for last contact, otherwise termination time): 10/16/1998
Payload weight: 495 kgs
Overall weight: 869 kgs
If you consider this website interesting or useful, you can help me to keep it up and running with a small donation to cover the operational costs. Just the equivalent of the price of a cup of coffee helps a lot.